BMW G01 Dimensions: The Ultimate Size Guide

D.Blinkink 0 views
BMW G01 Dimensions: The Ultimate Size Guide

BMW G01 Dimensions: The Ultimate Size Guide

Hey guys! Are you thinking about getting a BMW G01, or are you just curious about its size? Well, you’ve come to the right place! This guide dives deep into everything you need to know about the BMW G01 dimensions. We’re talking exterior measurements, interior space, cargo capacity – the whole shebang. So, buckle up and let’s get started!

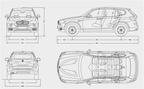
Exterior Dimensions: Size Matters!

When it comes to cars, especially SUVs like the BMW G01, the exterior dimensions play a crucial role in how the vehicle handles, parks, and looks on the road. Understanding these dimensions helps you determine if the G01 is the right fit for your garage, your driving style, and your overall needs. The BMW G01, which includes models like the X3 and X3 M, boasts a design that balances sporty aesthetics with practical functionality. Let’s break down the key exterior measurements:

  • Length: The length of the BMW G01 is one of the primary factors influencing its road presence. Typically, the G01 measures around 185.9 to 186.1 inches (approximately 4722 to 4727 mm). This length positions it perfectly in the compact SUV category, providing ample interior space without being overly cumbersome to maneuver in tight spots. The overall length contributes significantly to the vehicle’s aerodynamic profile, which in turn affects fuel efficiency and stability at higher speeds.
  • Width: The width of the G01 affects its stability and interior spaciousness. The width usually hovers around 74.7 inches (1897 mm), excluding the side mirrors. This width provides a comfortable cabin space for both the driver and passengers, ensuring a relaxed ride even on long journeys. Additionally, the width contributes to the vehicle’s stability, particularly during cornering and quick maneuvers. Including the mirrors, the width extends further, so it’s essential to keep this in mind when navigating narrow lanes or parking in confined spaces.
  • Height: The height of the BMW G01 contributes to its commanding presence and generous headroom. Generally, the height measures around 66.0 to 66.3 inches (approximately 1676 to 1684 mm). This height provides ample headroom for occupants, enhancing the overall comfort, especially for taller individuals. Moreover, the height plays a role in the vehicle’s ground clearance, enabling it to handle various terrains with ease. The elevated driving position also offers better visibility, enhancing safety and confidence on the road.
  • Wheelbase: The wheelbase, which is the distance between the front and rear axles, significantly impacts the ride quality and handling of the G01. The G01 has a wheelbase of approximately 112.8 inches (2865 mm). A longer wheelbase typically translates to a smoother ride, as it provides greater stability and absorbs bumps more effectively. It also contributes to increased legroom for rear passengers, making the G01 a comfortable choice for families. The wheelbase is a crucial factor in balancing agility and stability, making the G01 a versatile SUV for both city driving and long-distance travel.

These dimensions collectively define the BMW G01’s exterior profile, blending sporty design with practical considerations. Whether you’re navigating city streets or embarking on a road trip, the G01’s size ensures a comfortable and confident driving experience . Understanding these measurements helps you appreciate the thoughtful engineering that goes into making the G01 a standout in its class.

Interior Dimensions: Comfort and Space Inside

Okay, so now that we’ve covered the outside, let’s peek inside the BMW G01! The interior dimensions are super important because they determine how comfortable you and your passengers will be. No one wants to be cramped on a long road trip, right? So, let’s break down the key interior measurements to see what the G01 has to offer:

  • Headroom (Front/Rear): Headroom is essential for ensuring a comfortable ride, especially for taller passengers. In the front seats of the BMW G01, you typically get around 41.1 inches (1044 mm) of headroom. This generous space ensures that even taller drivers and front passengers have plenty of room to sit comfortably without feeling cramped. In the rear seats, the headroom is usually around 39.1 to 39.4 inches (993 to 1001 mm), which is still quite accommodating for adult passengers. The slightly reduced headroom in the rear is typical for SUVs, but the G01 still provides ample space for most people. Overall, the G01’s headroom dimensions are designed to provide a spacious and airy feel, enhancing the overall comfort of the cabin.
  • Legroom (Front/Rear): Legroom is another critical factor in passenger comfort, especially on long journeys. The front seats of the BMW G01 offer approximately 40.3 inches (1024 mm) of legroom, providing plenty of space for drivers and front passengers to stretch out. In the rear seats, passengers enjoy around 36.4 inches (925 mm) of legroom. While this is slightly less than the front, it’s still sufficient for most adults to sit comfortably. The rear legroom is adequate for shorter trips and can comfortably accommodate children. The G01’s legroom dimensions strike a good balance between providing ample space for both front and rear occupants, making it a practical choice for families and frequent travelers.
  • Shoulder Room (Front/Rear): Shoulder room is often overlooked, but it plays a significant role in how comfortable passengers feel, especially when traveling with multiple people. In the front seats of the BMW G01, you’ll find around 57.6 inches (1463 mm) of shoulder room. This generous width ensures that both the driver and front passenger have plenty of personal space, reducing the feeling of being cramped. In the rear seats, the shoulder room is approximately 56.0 inches (1422 mm), which is still quite spacious. This allows three adults to sit in the back without feeling too squeezed, making the G01 a comfortable option for group travel. The G01’s shoulder room dimensions are thoughtfully designed to maximize passenger comfort, even on long journeys.
  • Hip Room (Front/Rear): Hip room contributes to the overall comfort of the seats and the ease of getting in and out of the vehicle. The front seats of the BMW G01 offer around 54.5 inches (1384 mm) of hip room, providing ample space for occupants to sit comfortably. In the rear seats, the hip room is approximately 53.4 inches (1356 mm). This ensures that passengers in the back have enough space to sit without feeling constricted. The hip room dimensions, combined with the seat design, contribute to the overall comfort of the G01’s interior, making it a pleasant environment for both short commutes and long road trips.

These interior dimensions of the BMW G01 highlight the vehicle’s focus on providing a comfortable and spacious environment for both the driver and passengers. Whether you’re commuting to work, running errands, or embarking on a family vacation, the G01’s thoughtfully designed interior ensures that everyone can enjoy the ride in comfort.

Cargo Space: How Much Can You Haul?

Alright, let’s talk about cargo space! If you’re like me, you need a car that can handle groceries, luggage, sports gear, and all sorts of other stuff. Cargo space is a big deal , especially for an SUV. So, how does the BMW G01 measure up?

  • Cargo Volume Behind Rear Seats: The cargo volume behind the rear seats of the BMW G01 is a crucial measurement for everyday usability. Typically, you get around 28.7 cubic feet (813 liters) of space with the rear seats in their upright position. This is ample room for groceries, luggage for a weekend getaway, or sports equipment. The cargo area is designed to be practical and easy to use, with a wide opening and a low loading floor. This makes it easier to load and unload items, even if they are bulky or heavy. The G01’s cargo volume behind the rear seats is well-suited for families and individuals who need a versatile vehicle for daily tasks.
  • Cargo Volume With Rear Seats Folded: When you need to haul larger items, the BMW G01 offers the flexibility of folding down the rear seats to expand the cargo area. With the rear seats folded down, the cargo volume increases to approximately 62.7 cubic feet (1775 liters). This is a significant increase and provides enough space to transport larger items such as furniture, bicycles, or camping gear. The rear seats typically fold in a 40/20/40 split, allowing you to configure the cargo area to suit your needs. This flexibility is particularly useful for those who frequently need to carry a combination of passengers and cargo. The expanded cargo volume makes the G01 a versatile SUV that can handle a wide range of tasks.

The BMW G01’s cargo space is designed to be both practical and versatile, making it a great choice for those who need a vehicle that can handle a variety of tasks. Whether you’re running errands around town or embarking on a road trip, the G01’s cargo capacity ensures that you have enough room for everything you need . The combination of ample space and flexible seating configurations makes the G01 a standout in its class.

Comparing G01 Dimensions to Competitors

Now, let’s see how the BMW G01 stacks up against some of its rivals. Comparing dimensions is super helpful when you’re trying to decide which SUV is right for you. We’ll take a quick look at some key competitors and see how their sizes compare:

  • Audi Q5: The Audi Q5 is a strong competitor in the compact SUV segment. The Q5’s exterior dimensions are quite similar to the BMW G01, with a length of around 184.3 inches, a width of 74.5 inches, and a height of 65.4 inches. Interior dimensions are also comparable, with similar headroom and legroom in both the front and rear seats. Cargo space is also in the same ballpark, with around 25.8 cubic feet behind the rear seats and 53.1 cubic feet with the rear seats folded down. Overall, the Q5 and G01 are very closely matched in terms of size, so the choice between the two often comes down to styling, features, and driving dynamics.
  • Mercedes-Benz GLC: The Mercedes-Benz GLC is another key competitor in this segment. The GLC’s exterior dimensions are also similar to the G01, with a length of around 183.3 inches, a width of 74.4 inches, and a height of 64.5 inches. Interior dimensions are also quite comparable, with similar headroom and legroom. Cargo space is slightly less than the G01, with around 20.5 cubic feet behind the rear seats and 56.5 cubic feet with the rear seats folded down. The GLC offers a luxurious interior and advanced technology features, making it a strong contender in the compact SUV market.
  • Acura RDX: The Acura RDX is another popular choice in the compact SUV category. The RDX is slightly longer than the G01, with a length of around 186.8 inches, but its width and height are similar, at 74.8 inches and 65.7 inches, respectively. The RDX offers generous interior space, with ample headroom and legroom for both front and rear passengers. Cargo space is also quite impressive, with around 29.5 cubic feet behind the rear seats and 58.9 cubic feet with the rear seats folded down. The RDX is known for its value and reliability, making it a compelling option for budget-conscious buyers.

When comparing the BMW G01 to its competitors , it’s clear that the G01 holds its own in terms of size and space. While some competitors may offer slightly more cargo space or legroom, the G01 provides a balanced combination of comfort, practicality, and performance. Ultimately, the best choice depends on your individual needs and preferences, but understanding these dimensional comparisons can help you make an informed decision.

Conclusion

So, there you have it – a comprehensive guide to the BMW G01 dimensions! We’ve covered everything from the exterior measurements to the interior space and cargo capacity. Hopefully, this guide has given you a clear understanding of the G01’s size and how it compares to its competitors. Whether you’re trying to figure out if it will fit in your garage or if it has enough space for your family, knowing these dimensions is super helpful. Happy driving!